Electrical conductivity of synovial fluid as a measure of death time in late postmortem examination
- Authors: Khalikov A.A.1, Vavilov A.Y.2, Agzamov V.V.1, Pozdeev A.R.2
-
Affiliations:
- Bashkir State Medical University
- Izhevsk State Medical Academy
- Issue: Vol 11, No 1 (2025)
- Pages: 5-15
- Section: Original study articles
- Submitted: 05.10.2024
- Accepted: 07.11.2024
- Published: 03.04.2025
- URL: https://for-medex.ru/jour/article/view/16193
- DOI: https://doi.org/10.17816/fm16193
- ID: 16193
Cite item
Abstract
BACKGROUND: The determination of time since death is of significant legal importance, because the findings of investigation of a crime against the life and health largely depends on the successful resolution of this issue. The determination of time since death becomes particularly significant in cases where the death circumstances are not evident and the cadaver is examined in the late postmortem period. Without conclusive evidence of a non-violent death, investigators assume homicide; the exact death time since death serves to narrow the options and confirm or refute this assumption. The putrefaction complicates the forensic examination, limiting the accuracy of answers to the investigator's questions and requiring the new objective expert criteria search.
AIM: To assess changes in electrical conductivity of synovial fluid of knee joints at the stage putrefaction with mathematical description of the revealed changes on the basis of a multilayer perceptron to substantiate the prospects of determining the time since death by conductometric method.
MATERIALS AND METHODS: Conductometric properties of synovial fluid of knee joints of 103 cadavers who died of various causes at the age of 20–87 years were studied. The study was performed in the late postmortem period (up to 10 days). The time since death was established comprehensively considering medical, forensic and investigative data. The electrical conductivity was measured using AKIP RLC 6109 measuring system, with an error of 0.1%, at frequencies of 0.1 kHz, 1 kHz, and 10 kHz.
RESULTS: Electrical conductivity of synovial fluid at 100 Hz and 1 kHz was found to depend significantly on the time since death. The optimal mathematical model describing this correlation is a second degree polynomial. A model with a 2-5-1 multilayer perceptron architecture is also presented with an error that does not exceed the set limit (reliability >95%).
CONCLUSIONS: Conductometric analysis of synovial fluid of cadavers’ knee joints in the late postmortem period allows to reliably detect changes in its electrical conductivity determined by the time since death. These changes can serve as a mathematical model basis for calculating the time since death in the late postmortem period. The most accurate predictions are provided by model No. 2 with a 2-5-1 multilayer perceptron architecture, making it the most suitable for this task.
Full Text
BACKGROUND
Accurate estimation of the time since death is a critical task in forensic medical examinations and falls under the professional responsibility of medical experts. This process relies on analyzing biological changes that follow a predictable sequence in the body during the early and late postmortem periods. The precision of such estimates carries substantial legal importance, as it can significantly influence the outcome of investigations into crimes against life and health. This issue becomes particularly relevant when death occurs under unclear circumstances and the body is examined during the late postmortem period [1–3], often after a considerable delay. In the absence of definitive evidence indicating a nonviolent death, investigative authorities often presume homicide, suspecting criminal intent by unknown individuals. Accurate determination of the time of death substantially facilitates evidentiary work, enabling the confirmation or rejection of such hypotheses [4–6]. However, putrefactive transformation significantly limits the diagnostic capabilities of forensic experts, complicating the accurate estimation of the postmortem interval [7]. This highlights the need for new, reliable expert criteria to enhance the objectivity of forensic investigations.
Current scientific articles identify the synovial fluid of large joints as a promising substance for studying postmortem changes in the late period. A method has been developed for its analysis under putrefactive conditions, based on assessing the time since death through optical density measurements of synovial fluid [6, 7]. However, this method has limitations related to the use of photocolorimeters, which are stationary and unsuitable for field application when examining bodies at the site of discovery. Additionally, the results are dependent on the quality of the reference fluid (distilled water), which can affect the accuracy of instrumental readings and, consequently, the reliability of postmortem interval estimation.
In contrast, we argue that measuring the electrical conductivity of fluid does not present these limitations. It can be applied in any setting, including on-site body inspections, due to the availability of portable conductometers. Moreover, this equipment is relatively inexpensive and requires minimal training, facilitating its rapid adoption in forensic practice. Conductometry is an objective, quantitative method with high sensitivity for detecting changes in biological fluids and has already proven effective across multiple fields of medical diagnostics [8].
Based on the above, we hypothesize that conductometric analysis can enhance the accuracy and objectivity of estimating the time since death during the late postmortem period, which forms the basis of this study.
AIM
The work aimed to study changes in electrical conductivity of synovial fluid of knee joints of a cadaver during the development of its putrefaction with mathematical description of the revealed changes on the basis of a multilayer perceptron to substantiate the prospects of determining the time since death by conductometry.
METHODS
Study Design
This was an experimental, unblinded, single-center, prospective, non-controlled, sampling study. The conductometric properties of synovial fluid from the knee joints of 103 cadavers aged 20 to 87 years, who had died from various causes, were examined at different intervals during the late postmortem period.
The time since death was established comprehensively considering medical, forensic and investigative data.
Eligibility Criteria
Inclusion criteria: forensic medical examinations of cadavers in the late postmortem period (up to 10 days), where the time since death was morphologically verified through analysis of the extent of postmortem changes, supplemented by additional case information.
Exclusion criteria: cases involving forensic medical examinations of cadavers without signs of late postmortem changes, or with such signs present but lacking reliable data on the time of death.
Study Setting
The study was conducted at the State Budgetary Healthcare Institution of the Republic of Bashkortostan Bureau of Forensic Medical Examination under the Ministry of Health of the Republic of Bashkortostan.
Study Duration
The study was conducted between 2022 and 2024.
Intervention
Synovial fluid was obtained via standard needle aspiration of the knee joint through traditional anatomical access points [9] using a sterile single-use 5.0-mL medical syringe. To ensure consistent measurement conditions, the syringe containing the sample was placed in a thermostat at 25°C to stabilize the temperature. After 30–45 minutes, the fluid was transferred into a special cell designed for electrical conductivity measurements. Conductivity was measured using the portable RLC meter AKIP-6109® (Analytical Control and Measuring Instruments, Russia), which was connected to a computer via USB interface. The device is registered in the national registry of measuring instruments and certified for compliance; it enables measurement of resistance, impedance, reactance, capacitance, and inductance with an accuracy of 0.1% at frequencies ranging from 0.1 to 10 kHz.
Main Study Outcome
Electrical conductivity values of synovial fluid from cadaver knee joints were obtained during the late postmortem period. Measurements were performed at three sinusoidal current frequencies: 100 Hz, 1 kHz, and 10 kHz. Regular patterns of change in specific electrical conductivity as a function of time since death were identified. Mathematical models were developed to describe this relationship, enabling more accurate estimation of the postmortem interval.
Subgroup Analysis
To achieve the study objective, no subgroup division or analysis was performed.
Outcomes Registration
The primary method for recording outcomes was logging the specific electrical conductivity values into a Microsoft Excel® database (Microsoft Office®, Microsoft Corp., USA). We also performed initial data processing as per standard statistical protocols recommended for biological and medical research [10]. Mathematical modeling was conducted using Statistica 10.0® software (Statsoft, Dell Inc., USA).
Ethics Approval
The study was approved by the Local Ethics Committee of the Federal State Budgetary Educational Institution of Higher Education Bashkir State Medical University, Ministry of Health of the Russian Federation (Protocol No. 3, dated February 26, 2020).
Statistical Analysis
The principles of samples size calculating: The samples size was not calculated previously.
Statistical data analysis methods: Classical statistical methods were used, including calculations of mean, standard deviation, and standard error of the mean [10]. Mathematical modeling employed neural network functions based on a multilayer perceptron in Statistica 10.0® (Statsoft, Dell Inc., USA).
RESULTS
Participants
The study analyzed synovial fluid extracted from the knee joints of 103 cadavers of both sexes, aged 20 to 87 years, who had died from various causes.
A key characteristic of the cadavers was the duration of the postmortem interval (time since death, TSD):
- ≤ 24 hours: 43 cases; 25–48 hours: 17 cases; 49–72 hours: 12 cases;
- 73–96 hours: 6 cases; 97–120 hours: 13 cases; 121–144 hours: 1 case; 145–168 hours: 7 cases;
- 169–192 hours: 2 cases; 217–240 hours: 2 cases.
Primary Results
The results showed that specific electrical conductivity of synovial fluid at 100 Hz and 1 kHz correlates significantly with the time since death and is independent of other variables. It is noteworthy that the relationship between the specific electrical conductivity of synovial fluid and the duration of the postmortem interval is most accurately described by second-degree polynomial models.
- At 100 Hz:
, (1)
where λ100 is the specific conductivity at 100 Hz (S·m-1 × 10-1), TSD is time since death (days); r = 0.93, p = 0.01.
- At 1 kHz:
, (2)
where λ1k is the specific conductivity at 1 kHz (S-1 × 10-1), TSD is time since death (days); r = 0.95, p = 0.01.
Furthermore, models based on a 2-5-1 multilayer perceptron (MLP 2-5-1) architecture can reliably calculate the time since death based on the specific electrical conductivity of synovial fluid from the knee joint. The resulting estimation falls within a margin of error with > 95% confidence [10], as defined by the inequality:
, (3)
where TSD is the true time since death (days), and TSDa is the estimated time since death (days) calculated using the multilayer perceptron–based mathematical model.
The full mathematical expression of the MLP 2-5-1 model is not disclosed in this article, as it is the subject of a pending patent application currently under review by the Federal Institute of Industrial Property.
Secondary Results
No secondary findings relevant to the study objective were obtained.
Adverse Events
No adverse events were observed during this study.
DISCUSSION
Summary of Primary Results
This study substantiates the feasibility of using synovial fluid electrical conductivity from cadaver knee joints as a forensic criterion for estimating the time since death. The changes in this biophysical parameter during the late postmortem period (up to 10 days) can be reliably described using second-degree polynomial equations corresponding to current frequencies of 100 Hz (1) and 1 kHz (2).
Using an artificial neural network, a predictive model (Model No. 2) with an MLP 2-5-1 architecture was developed to estimate the time since death based on the specific electrical conductivity of synovial fluid. Its accuracy was verified by comparing calculated predictions with verified postmortem intervals.
Discussion of Primary Results
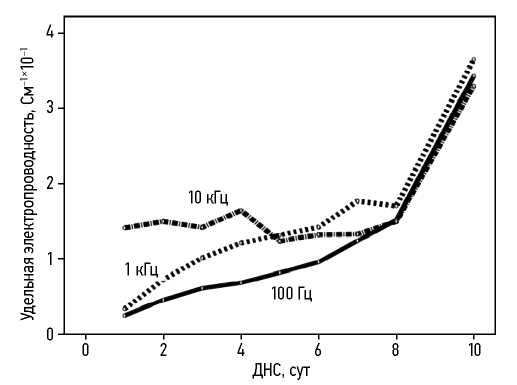
The changes in the specific electrical conductivity of synovial fluid over the 10-day postmortem interval were statistically significant (p < 0.001) at current frequencies of 100 Hz and 1 kHz, but not at 10 kHz (Fig. 1). These changes were time-dependent and can be utilized to estimate the time since death.
Fig. 1. Changes in the specific electrical conductivity of synovial fluid of the knee joints of a human corpse over 10 days at three current frequencies; 100 Hz, 1 and 10 kHz. TSD, time since death.
To visualize trends in the changes of synovial fluid specific electrical conductivity relative to the duration of the postmortem interval, constructing trend lines is the most appropriate approach. This provides an additional means of expressing the observed changes as mathematical equations. The analysis demonstrated that these changes are most accurately represented by equations based on second-degree polynomial relationships between the studied parameters (Fig. 2).
Fig. 2. Polynomial trends of the dynamics of specific electrical conductivity of synovial fluid in the postmortem period at current frequencies of 100 Hz (a) and 1 kHz (b). TSD, time since death.
Second-degree polynomials describing the correlation between the postmortem interval and the specific electrical conductivity of synovial fluid are presented in Equations (1) and (2).
Artificial neural networks were applied to identify key predictors and construct models. These networks are mathematical models, along with hardware and software implementation; they simulate biological neural systems and are effective for revealing complex data relationships.
To facilitate the selection of activation functions for the neural network, a scatterplot was constructed to illustrate the relationship between time since death and specific electrical conductivity at current frequencies of 100 Hz and 1 kHz (Fig. 3). Analysis of the scatterplot suggests that most activation functions are suitable for final perceptron output, including:
- identity
- hyperbolic
- exponential.
Five models were trained, one with an MLP 2-9-1 architecture (Model No. 1) and four with MLP 2-5-1 architecture (Models No. 2–5).
Model No. 2, based on the MLP 2-5-1 architecture, showed the highest performance on the training set (0.980), trained with the BFGS (Broyden–Fletcher–Goldfarb–Shanno) second-order algorithm over 52 iterations.
Fig. 3. Scatter plot illustrating the dependence of the time since on the specific conductivity at current frequencies of 100 Hz and 1 kHz. TSD, time since death.
Table 1. The weights in the structure of model No. 2 with the architecture of a multilayer perceptron 2-5-1
Connection | Weight values |
X01k → hidden neuron 1 | −1.60556 |
X1k → hidden neuron 1 | −0.8682 |
X01k → hidden neuron 2 | −1.72512 |
X1k → hidden neuron 2 | 0.29258 |
X01k → hidden neuron 3 | 1.71824 |
X1k → hidden neuron 3 | 0.53656 |
X01k → hidden neuron 4 | 5.9973 |
X1k → hidden neuron 4 | 6.47249 |
X01k → hidden neuron 5 | 0.9848 |
X1k → hidden neuron 5 | −1.13822 |
Bias → hidden neuron 1 | −0.32826 |
Bias → hidden neuron 2 | 0.05079 |
Bias → hidden neuron 3 | −1.52135 |
Bias → hidden neuron 4 | –3.25862 |
Bias → hidden neuron 5 | 0.55719 |
Hidden neuron 1 → Time Since Death (days) | −0.54822 |
Hidden neuron 2 → Time Since Death (days) | 0.26344 |
Hidden neuron 3 → Time Since Death (days) | 0.28115 |
Hidden neuron 4 → Time Since Death (days) | 0.22141 |
Hidden neuron 5 → Time Since Death (days) | –0.07299 |
Hidden Bias → Time Since Death (days) | 0.30003 |
The output neuron activation function was hyperbolic. All models demonstrated equal performance on the validation set (0.930). In the training set, the training error was lower (0.103), while in the validation set it increased by 0.003. Model No. 4, also based on the MLP 2-5-1 architecture and trained using the second-order BFGS algorithm (23 iterations), demonstrated the best performance on the validation set, with a hyperbolic activation function for the output neurons. However, Model No. 2 showed the lowest error on the test set (0.063). Thus, Model No. 2 delivered the highest accuracy for estimating the time since death based on cadaver knee joint synovial fluid conductivity: 98.0%, 99.3%, and 98.8% (p < 0.05), making it the most suitable model for forensic use. The structure and descriptive statistics of Model No. 2 based on the MLP 2-5-1 architecture are presented in Table 1 and Table 2, respectively.
Table 2. Descriptive statistic of model No. 2 with the architecture of a multilayer perceptron 2-5-1
Sample Variants | X01k | X1k | Time Since Death, days |
Minimum value (training set) | 0.139 836 | 0.189 524 | 1 |
Maximum value (training set) | 3.371 541 | 3.569 507 | 10 |
Mean value (training set) | 0.585 607 | 0.868 022 | 3.014 29 |
Standard deviation (training set) | 0.479 766 | 0.605 873 | 2.274 58 |
Minimum value (validation set) | 0.123 623 | 0.183 834 | 1 |
Maximum value (validation set) | 3.495 901 | 3.737 089 | 10 |
Mean value (validation set) | 0.630 112 | 0.860 494 | 2.8 |
Standard deviation (validation set) | 0.832 917 | 0.910 015 | 2.541 09 |
Minimum value (test set) | 0.181 489 | 0.221 111 | 1 |
Maximum value (test set) | 2.075 426 | 1.975 186 | 8 |
Mean value (test set) | 0.532 192 | 0.721 428 | 2.266 67 |
Standard deviation (test set) | 0.344 573 | 0.480 98 | 1.311 12 |
Minimum value (total set) | 0.123 623 | 0.183 834 | 1 |
Maximum value (total set) | 3.495 901 | 3.737 089 | 10 |
Mean value (total set) | 0.584 271 | 0.844 903 | 2.87 |
Standard deviation (total set) | 0.538 828 | 0.641 749 | 2.272 61 |
Note. X01k and X1k, input; time since death, target.
This model demonstrates a strong correlation (p ≥ 0.95) between target and output values of postmortem interval (Fig. 4a). The residuals (see Fig. 4b) and standardized residuals (see Fig. 4c) also confirm its consistency with the initial data.
Fig. 4. The relationship between the target and output values of the time since death (a) based on model No. 2 with the architecture of a multilayer perceptron 2-5-1, residuals (b), standardized residuals (c). TSD, time since death.
Fig. 5 provides a surface plot that illustrates consistency between the initial and calculated data for Model No. 2.
Fig. 5. Surface diagrams of the original data (a) and the data obtained using model No. 2 with the architecture of a multilayer perceptron 2-5-1 (b). TSD, time since death.
The accuracy of estimating time since death based on the specific electrical conductivity of synovial fluid in cadavers undergoing putrefactive changes was evaluated by comparing predicted values with reference postmortem intervals established through a comprehensive assessment of all data available to the forensic medical expert. Inequality (3) was derived to define the confidence interval boundaries within which the time since death values predicted by Model No. 2 with an MLP 2-5-1 architecture fall with a probability greater than 95%. These results are graphically displayed in Fig. 6.
Fig. 6. Error limits of the method for determining the time of death using model No. 2 with the architecture of a multilayer perceptron 2-5-1.
Study Limitations
Because cadavers were examined during the late postmortem period, it was not possible to determine the exact time since death to the hour or minute. Nevertheless, we aimed for the highest attainable accuracy by integrating objective data from official sources and forensic examination results to establish control postmortem intervals.
Additionally, no a priori sample size calculation was performed to ensure statistical power, which limits the representativeness of the findings. Therefore, the results of this study cannot be generalized to the broader population beyond the studied sample.
CONCLUSION
Conductometric analysis of synovial fluid from the knee joints of cadavers during the late postmortem period reliably detects changes in specific electrical conductivity that directly correlate with time since death.
We believe that the developed study algorithm and the multilayer perceptron–based model, upon official registration with the Federal Service for Intellectual Property, can be successfully implemented as an adjunctive method for estimating the postmortem interval within 10 days of death.
ADDITIONAL INFORMATION
Authors’ contribution: A.A. Khalikov: writing—review & editing; A.Yu. Vavilov: writing—review & editing; V.V. Agzamov: data collection; A.R. Pozdeev: writing—review & editing. Thereby, all authors provided approval of the version to be published and agree to be accountable for all aspects of the work in ensuring that questions related to the accuracy or integrity of any part of the work are appropriately investigated and resolved.
Ethics approval: The study was approved by the local ethics committee of the Federal State Budgetary Educational Institution of Higher Education “Bashkir State Medical University” of the Ministry of Health of the Russian Federation (protocol No. 3 dated February 26, 2020).
Funding sources: No funding.
Disclosure of interests: The authors have no relationships, activities or interests for the last three years related with for-profit or not-for-profit third parties whose interests may be affected by the content of the article.
Statement of originality: When creating this work, the authors did not use previously published information (text, illustrations, data).
Data availability statement: The editorial policy on data sharing does not apply to this work.
Generative AI: Generative AI technologies were not used for this article creation.
Provenance and peer-review: This article was submitted to the Journal on an unsolicited basis and reviewed according to the usual procedure. One external reviewer, a member of the editorial board, and the scientific editor of the Journal participated in the peer-review.
About the authors
Airat A. Khalikov
Bashkir State Medical University
Email: airat.expert@mail.ru
ORCID iD: 0000-0003-1045-5677
SPIN-code: 1895-7300
MD, Dr. Sci. (Medicine), Professor
Russian Federation, 3 Lenin st, Ufa,450008Alexey Yu. Vavilov
Izhevsk State Medical Academy
Email: izhsudmed@hotmail.com
ORCID iD: 0000-0002-9472-7264
SPIN-code: 3275-3730
MD, Dr. Sci. (Medicine), Professor
Russian Federation, IzhevskVadim V. Agzamov
Bashkir State Medical University
Author for correspondence.
Email: expert.sudmed@yandex.ru
ORCID iD: 0000-0001-9845-2280
SPIN-code: 2601-5385
MD
Russian Federation, 3 Lenin st, Ufa,450008Alexey R. Pozdeev
Izhevsk State Medical Academy
Email: apozdeev@bk.ru
ORCID iD: 0000-0002-6302-5219
SPIN-code: 2242-4828
MD, Dr. Sci. (Medicine), Assistant Professor
Russian Federation, IzhevskReferences
- Tenkov AA, Plaksin VO. Forensic examination of a corpse in the late postmortem period: (rotting, adipocere, mummification, damage assessment): monograph. Kursk: Publishing House of Kursk State Medical University; 2005. (In Russ.) EDN: QLKVZL
- Tomilin VV, Zharov VV, Melnikov GM. Determining the time of death. Forensic Medical Expertise. 1984;27(4)44–47. (In Russ.)
- Froede RC. Handbook of forensic pathology. 2nd edition. College of American pathologist; 2003.
- Kil’dyushov EM, Ermakova YuV, Tumanov EV, Kuznetsova GS. Estimation of time since death in the late postmortem period in forensic medicine (literature review). Russian Journal of Forensic Medicine. 2018;4(1):34–38. doi: 10.19048/2411-8729-2018-4-1-34-38 EDN: YWDARF
- Indiaminov SI, Zhumanov ZE, Blinova SA. Problems of establishing the prescription of death. Forensic Medical Expertise. 2020;63(6):45–50. doi: 10.17116/sudmed20206306145 EDN: FXLSCS
- Sadrtdinov A, Khalikov A, Kanzafarova G. Photocolorimetric diagnosis of period of death, for the examination of putrid transformed corpse. Meditsinskaya ekspertiza i parvo. 2016;(5):32–36. EDN: WWYWFT
- Sadrtdinov AG, Vavilov AYu, Khalikov AA, Naydenova TV. Determination of time of death by photocolorimetric method in putrid biotransformation corpse. Modern problems of science and education. 2017;(2):10. EDN: YLKHRZ
- Popov VL, Kazakova EL, Lavrukova OS, Polyakov AY. On the prospects of the impedance monitoring method for determining the prescription of death coming. Forensic Medical Expertise. 2023;66(2):20–25. doi: 10.17116/sudmed20236602120 EDN: MQZICF
- Yumashev GS. Traumatology and orthopedics. 2nd edition. Moscow: Meditsina; 1983. (In Russ.)
- Tarnovskaya LI. Statistics: a study guide. Tomsk: Publishing House of Tomsk Polytechnic University; 2008. (In Russ.)
Supplementary files










